更换
010-68018529
微信号:公众号:中和德汇

新闻资讯

News Information

2023年5月份重要政策文件解读(全国主要省市法律法规文件)一

时间:2023-06-01 来源:德汇 浏览量:1594

(一)广东省发展和改革委员会、广东省住房和城乡建设厅等7部门联合发布《关于进一步做好工程建设项目招标计划公告公示信息发布工作的通知》(粤发改法规函〔2023633号),2023411日印发

  针对做好省招标计划公告公示信息发布提出以下要求:

   一、依法必须招标的工程建设项目,要严格按照《中华人民共和国招标投标法》《中华人民共和国招标投标法实施条例》和《招标公告和公示信息发布管理办法》(国家发展改革委令2017年第10号)等规定进行招标计划公告公示信息发布。发布内容需包含国家和省规定的必要信息要素(详见附件发布模板)。招标投标信息发布媒介、招标投标交易系统发布信息需包含必要信息要素,可根据实际需要确定发布格式和上传文件格式,并增加项目发布必需的系统特性要素(如交易编码等)。

   二、发布招标计划、招标公告(资格预审公告)、中标候选人公示、中标结果公示,需上传招标人(或招标代理机构)盖章和主要负责人(或授权的项目负责人)签名的系统生成的发布文件的扫描件;采用数据电文形式的,应当按规定进行电子签名。

   三、依法必须招标项目的招标计划、公告和公示信息发布服务,由招标投标信息发布媒介免费提供,并允许社会公众和市场主体免费、及时查阅招标计划、公告和公示的完整信息。

四、招标人或其招标代理机构应当对其提供的招标计划、公告和公示信息的真实性、准确性、合法性负责。发布媒介和招标投标交易系统应当对所发布的招标计划、公告和公示信息的及时性、完整性负责。

(二)广东省建设工程标准定额站《关于优化定额咨询问题提交方式的通知》(粤标定函〔202353号),2023519日发布并施行

提交方式的优化:用户登录广东省建设工程定额动态管理系统,在使用定额提问功能进行咨询时,须提前认真填写《定额提问表》并加盖单位公章,作为附件上传。无单位盖章的定额问题将不再予以回复。

(三)广州市住房和城乡建设局《关于加强房屋建筑工程基坑监测管理的通知(试行)》(穗建质〔2023207号),202351日起试行,暂定一年

住建局:51日起,均应纳入“系统”,建设单位对基坑安全负首责!

4月20日,广州市住建局正式发布《关于加强房屋建筑工程基坑监测管理的通知(试行)》。

202351日起我市房屋建筑工程(含综合管廊)的基坑监测均应纳入广州市建设工程融合监管平台基坑监测预警系统(下称“基坑监测系统”)管理。

建设单位对基坑工程安全负首要责任。属同一单位工程监测业务的,建设单位应委托同一家监测单位进行监测,不得分解委托

从基坑开挖至基坑底板浇筑完成后7天内项目负责人或技术负责人每半月现场检查工地不少于1

每次监测作业和现场巡查时监测人员需进行人脸识别

处罚:

◆发现参建单位违反本通知要求的,应督促立即整改。对未按要求完成整改的责任单位予以通报曝光,对项目企业和负责人记录不规范行为、诚信扣分,责令项目停工或依法立案查处

◆对超越资质范围承揽监测业务的,使用不合格仪器设备的,伪造监测数据、出具虚假监测报告的,方案未经专家论证审核的,预警信息不及时处理上报的,依法顶格惩处

(四)广东省住房和城乡建设厅《关于调整建设执业资格注册业务办理事项的通知》(粤建许函〔2023202号),202351日施行

住建厅:调整建设执业资格注册业务办理事项,51日零时起生效!

(五)广东省发展和改革委员会、广东省司法厅、广东省市场监督管理局联合发布《关于印发司法鉴定服务价格管理办法的通知》(粤发改规〔20232号),自2023610日起施行,有效期5

根据该办法,司法鉴定机构可以政府制定的基准价为基础,在上下浮动分别不超过20%的范围内确定具体价格。办理疑难、复杂和有重大社会影响的鉴定事项时,上浮幅度最高不得超过政府制定的基准价的40%

办理疑难、复杂和有重大社会影响的鉴定事项时,司法鉴定机构不得再向委托人收取办法规定的专家咨询费用。疑难、复杂和有重大社会影响的鉴定事项认定标准由省司法厅另行制定。

办法规定,司法鉴定机构在实施鉴定过程中,邀请专家会鉴或者出具咨询意见的,专家咨询费用由司法鉴定机构承担;经与委托人或当事人协商,委托人或当事人同意承担专家咨询费用的,从其约定。

办法所指的司法鉴定服务包括法医类鉴定、物证类鉴定、声像资料鉴定等,价格实行政府指导价管理。其基准价和浮动幅度由广东省发展改革委会同广东省司法厅依据国家相关法律法规等规定,遵循司法鉴定程序要求,综合评估司法鉴定活动的人工、设备、耗材、场地和管理成本,按照有利于司法鉴定事业可持续发展和兼顾社会承受能力的原则合理制定。广州、深圳市行政辖区范围内的司法鉴定服务价格由广州、深圳市人民政府制定。

(六)上海市住房和城乡建设委员会《关于印发<上海市建筑工程施工许可管理规定>的通知》(沪住建规范〔20232号),自202351日起,有效期五年

住建委:51日起,100万以下工程无需申领施工许可证!不再制发纸质证书

上海市住建委印发《上海市建筑工程施工许可管理规定》,202351日起施行。

◆工程投资额在100万元以上的建筑工程,以及工程投资额在100万元以上或者建筑面积在300平方米以上的既有建筑装饰装修工程,应当申请领取施工许可证

◆工程投资额在100万元以下的建筑工程,实行所辖区域属地备案和开工信息报送制度

桩基础工程完成发包的,建设单位可凭设计方案批准文件以及施工许可证的其他法定要件,申请办理桩基础工程施工许可证,无需提供建设工程规划许可证,先行开展桩基础工程施工

本市实行建筑工程施工许可证电子证照,发证机关不再制作和发放纸质《建筑工程施工许可证》。建筑工程施工许可证电子证照与纸质《建筑工程施工许可证》具有同等法律效力

(七)上海市住房和城乡建设委员会《关于印发<上海市建设工程施工项目经理和总监理工程师质量安全违法违规行为记分管理办法>的通知》(沪住建规范〔20234号),自202361日起,至2028531日止

住建委:61日起,对项目经理、总监计分,最高处以停止执业1年!

上海市住建委印发《上海市建设工程施工项目经理和总监理工程师质量安全违法违规行为记分管理办法》,202361日起施行

第四条(记分分值和记分标准)

依据项目经理和总监质量安全违法违规行为的类别以及严重程度,一次记分的分值为12分、6分、3分、1分四种。记分初始分值为零,最高记分分值不封顶。

上海市建设工程项目经理和总监质量安全违法违规行为记分标准详见附件1和附件2

第五条(记分周期)

项目经理和总监质量安全违法违规行为记分周期为12个月,从11日起至1231日止。

记满30分,停止执业

项目经理、总监在停止执业期间,其所属单位应当按规定程序更换符合条件的项目经理、总监。

◆在一个记分周期内累计被记分值达到30分不足40分时,停止执业3个月

◆记分值再每增加10分,停止执业增加3个月,最长不超过1

(八)上海市财政局、市住房和城乡建设委员会及市经济和信息化委员会联合印发《关于本市政府采购工程项目招标投标领域落实支持中小企业发展政策的通知》(沪财采〔202311号),202356日发布

 上海:在政府采购工程项目招标投标领域全面落实支持中小企业发展政策!必须招标的政府采购工程项目应当预留30%及以上的招标份额专门面向中小企业招标,预留份额可以通过三种方式实施

《通知》提出,各部门、各单位要对政府采购支持中小企业发展政策给予足够重视,相关管理部门要加大政策宣传力度,紧密结合政府采购工程项目招标投标领域特点,把政府采购支持中小企业的各项政策措施落到实处。属于《必须招标的工程项目规定》的政府采购工程项目(含勘察、设计、施工、监理以及与工程建设有关的重要设备、材料等的采购),适宜由中小企业提供的,应当预留30%及以上(在2023年底前阶段性提高至40%以上)的招标份额专门面向中小企业招标,其中预留给小微企业的比例不低于60%。不属于《必须招标的工程项目规定》的政府采购工程项目,适宜由中小企业提供的,采购人应当专门面向中小企业采购。未预留份额专门面向中小企业招标的政府采购工程项目实行评审优惠。具体评审优惠方式另行制定。预留份额可以通过三种方式实施,一是招标项目整体预留或者设置标段向中小企业招标。二是联合体形式预留。在招标公告、招标文件中接受大型企业联合中小企业以联合体形式参加投标,应当明确中小企业承担的合同份额不低于联合体投标报价的30%。三是合同分包形式预留。在招标公告、招标文件中要求大型企业中标后,应当将不低于中标合同额30%的非主体、非关键性工作分包给一家或者多家中小企业。

《通知》还强调,纳入部门预算管理的政府采购工程项目,预算主管部门要在预算编制环节统筹制定面向中小企业预留采购份额方案,依托预算约束增强支持中小企业政策刚性。市、区建设财力安排的政府采购工程项目,招标人应当在招投标活动启动之前制定面向中小企业预留份额方案,并在招标文件中明确预留份额的形式。市、区两级财政部门、建设行政管理部门和中小企业主管部门要依法履职尽责,协同推进政府采购工程项目招标投标领域贯彻执行促进中小企业发展政策。市财政局将会同市经济和信息化委、市住房和城乡建设管理委等部门,适时组织开展全市政府采购工程项目招标投标领域支持中小企业政策执行情况专项监督检查,通报监督检查结果,疏通政策落实堵点难点,总结推广实践经验,巩固拓展政策功能。

(九)天津市发展和改革委员会《关于修订印发<天津市发展和改革委员会投资咨询评估管理办法>的通知》,自202391日起施行,有效期5

  《办法》共八章,46条。

   第一章 总则,共6条。包括制定《办法》的目的和主要依据,市发展改革委在进行相关投资咨询评估时基本原则、管理职责等。

       第二章 咨询评估范围,共1条。明确了适用于市发展改革委咨询评估(评审)的事项及投资决策后评价的内容。

       第三章 咨询评估机构名单管理,共6条。明确了市发展改革委如何选择投资咨询评估机构,进入咨询评估机构库的评估机构应当具备的条件以及市发展改革委确定咨询评估机构的程序。市发展改革委择优选择工程咨询单位建立咨询评估机构名单并实行动态管理。根据投资管理需要,结合咨询评估机构一致性评价结果与量化考评结果,对咨询评估机构进行动态调整。 

        第四章 委托咨询评估程序,共5条。明确了除涉及国家安全、经济安全等特别重要的项目或特殊事项外,市发展改革委选取承担咨询评估任务的机构,委托开展咨询评估的工作流程。

        第五章 估费用及支付,共2条。特别强调对咨询评估费用五十万元(含)以上的咨询评估任务,应按照《中华人民共和国政府采购法》及其实施条例等国家和我市有关规定要求执行

        第六章 咨询评估工作规范,共15条。对咨询评估单位开展评估的工作提出了要求,强调在接受咨询评估任务后,立即确定项目负责人,成立评估小组,项目负责人应当是经执业登记的咨询工程师(投资),初步设计和概算评估项目负责人原则上是经执业登记的造价工程师。评估小组应当具备一定数量的本专业高级专业技术职称人员。另外,咨询评估机构应严格遵守主动回避制度。

第七章 咨询评估质量评价和监督,共9条。在本章中,明确了市发展改革委负责对咨询评估机构定期开展监督检查的主要内容,咨询评估机构和参与评估评审的专家在工作中禁止出现的违反法律法规的行为,须由重大项目工作处会同主办处室进行约谈的情形以及市发展改革委责令改正甚至将适时对咨询评估机构名单进行调整的行为。

第八章 附则,共2条。明确本办法自202391日起施行,有效期5年,原《天津市发展和改革委员会投资咨询评估管理办法》(津发改投资规〔202111号)同时废止。

(十)安徽省住房和城乡建设厅《关于修订<安徽省建设工程造价咨询招标文件示范文本(2023年版)>的通知》(建标函〔2023222号),2023517日发布

为充分发挥市场在资源配置中的决定性作用,建立更加公平公正、开放有序、充分竞争的工程造价咨询市场秩序,促进安徽省建筑业转型升级,近日,安徽省住房和城乡建设厅制定并发布了适用电子招标投标的《安徽省建设工程造价咨询招标文件示范文本》(2023年版)(以下简称《示范文本》)。

《示范文本》适用于安徽省行政区域内建设工程造价咨询服务类项目招标,该文件以电子招标投标方式进行拟定,如采用纸质方式,招标人可对应内容自行调整。安徽省建设工程造价咨询招标项目推荐使用该示范文本,使用时对示范文本进行调整的,要以书面形式向安徽省建设工程造价管理总站反馈。

《示范文本》包括招标公告、投标人须知、评标办法、合同条款及格式、招标人要求、投标文件格式等六部分内容。投标人须知部分附录了资格审查条件经营能力要求、财务最低要求、业绩最低要求、信誉最低要求、项目配备人员最低要求、其他要求等。《示范文本》采用合理报价综合评估法、固定报价综合评估法。投标文件格式部分包括信用、商务及技术文件的投标文件和报价文件的投标文件,前者包括投标函(不含报价)”“法定代表人身份证明或授权委托书”“联合体协议书”“投标保证金”“资格审查资料”“企业信用评价等级证明”“造价咨询服务方案”“其他资料;后者包括投标函”“造价咨询服务费用清单(适用于总价报价的项目)”“其他资料

(十一)福建省住房和城乡建设厅《关于修订<福建省房屋建筑和市政基础设施工程标准施工招标文件(2022年版)>部分条款的通知》(闽建筑〔202310号),自2023510日起实施

住建厅:删除一项“没收投标保证金”条款!510日起实施

近日,福建省住建厅修订《福建省房屋建筑和市政基础设施工程标准施工招标文件(2022年版)》部分条款,本通知自2023510日起实施

◆将涉及到“投标人在投标截止后撤销投标文件”条款予以删除

对于投标人在投标截止后撤销投标文件是否不予退还投标保证金由招标人根据《招标投标法实施条例》的有关精神,结合潜在投标人数量、使用的评标办法等因素在招标文件中自行明确 

此前文件明确:存在“投标人在投标截止后撤销投标文件”等4种情形之一的,投标保证金将不予退还


(十二)福建省住房和城乡建设厅《关于修订<福建省房屋建筑和市政基础设施工程总承包模拟清单计价表格>的通知》(闽建筑〔202311号),自2023512日印发

与《福建省房屋建筑工程总承包模拟清单计量规则(2022年版》(闽建筑(2023)1号)配套实施。

原《福建省房屋建筑和市政基础设施工程总承包模拟清单计价与计量规则(2020年版)》的附件1同时废止

(十三)福建省住房和城乡建设厅《关于启用福建省建设执业资格注册管理系统有关事项的通知》(闽建许〔20233号),2023522日发布

    住建厅:52618点起,停止受理二级建造师等注册业务!

近日,福建省住建厅发文:5月26日18点起停止受理二建等注册业务

 ◆原“二级建造师注册管理信息系统”将于5月2618点起停止受理注册业务

 ◆6月5日起管理系统正式受理二级建造师、二级建筑师、二级注册结构工程师、二级造价工程师注册业务。

 登录方式注册人员、企业及主管部门以闽政通账号(指在“福建省社会用户实名认证和授权平台”注册的个人或法人用户)信息作为登录账号,

 ◆个人使用个人账号登录,且安全认证等级需达到L5级别

 ◆企业使用法人账号登录,须完成CA高级认证

电子注册证书

 ◆注册人员可在管理系统内自行下载打印电子注册证书,打印出的纸质注册证书使用有效期为180,逾期可重新打印

 ◆使用时限距注册专业有效期或建造师满65周岁不足180天的,使用时限截止日期以注册专业有效期截止日期或建造师满65周岁当日为准

 ◆超出使用时限的电子注册证书无效,需重新下载并再次确认。

 ◆打印电子注册证书后,应在个人签名处手写本人签名,并填写签名日期,未手写签名或与签名图像笔迹不一致的,该电子注册证书无效

 ◆管理系统已对原电子注册证书进行重新优化,自本系统启用之日起,注册人员须重新下载并妥善保管

(十四)福建省住房和城乡建设厅《关于修订五份标准招标文件部分条款的通知》(闽建筑〔202312号),自202361日起实施

202361日起发布招标公告或发出投标邀请书的招标项目按本通知的要求实施

(十五)福建省人民政府办公厅《关于加快推进建筑垃圾资源化利用的指导意见》(闽政办〔202315号),2023526日发布

  《指导意见》主要包括5个方面13条措施。

   1、加快编制实施方案。要求各设区市根据辖区内建筑垃圾产生量和既有资源化利用能力情况,制定建筑垃圾资源化利用实施方案。

   2、规范前端收运行为。一是严格执行处置核准,要求各设区市建立管理台账,实行全过程管理;二是分类规范收运行为,对工程垃圾、拆除垃圾、装修垃圾分别提出了规范要求;三是建立市场收运机制,建筑垃圾产生方向收运企业付费。

     3、提升末端处置能力。一是加快综合基地建设,构建以市级基地为主、县区级和中小微企业为辅的利用体系;二是提升技术工艺水平,进厂建筑垃圾利用率稳定在90%以上;三是实行建设运营奖补,要求各设区市制定相关奖补配套政策。

   4、大力推广再生产品。一是强化产品推广使用,财政性投资项目全面优先使用建筑垃圾再生产品;二是完善产品标准体系,更新完善省级再生产品相关应用技术标准;三是加大产品科普宣传,提高公众优先使用再生产品的积极性。

   5、强化工作保障措施。一是压实属地管理责任,要求建立建筑垃圾资源化利用工作体系,将必要经费纳入本级预算安排;二是加强部门协同推进,住建(城管)部门牵头负责,各有关部门依照职责共同推进;三是加强工作监督考核,各设区市落实情况纳入省级城乡建设品质提升工作考核内容。

(十六)甘肃省人民政府办公厅《关于进一步优化工程建设项目审批服务的通知》(甘政办发〔202338号),2023512日发布

一、提升审批服务效能

进一步优化审批流程;提升项目谋划储备工作质量;规范用地规划事项办理;优化施工许可阶段审批;探索推行环评打捆审批;优化简化涉水事项审批。

二、推进审批服务规范化标准化便利化

统一事项库管理;提升网上办理深度;完善系统数据共享机制;建设市政公用政企协同平台;规范审批中介服务。

三、积极助力重点项目开工建设

完善重点项目绿色通道服务机制;建立重点项目专题库。

四、切实强化工作保障

及时回应企业诉求;健全协同推进机制;强化督办推动落实。

(十七)广西壮族自治区住房城乡建设厅、财政厅、银保监局《关于印发<广西壮族自治区房屋建筑和市政基础设施工程安全生产责任保险实施办法>的通知》(桂建发〔20231号),自202361日起施行

住建厅3部门:61日起,所有新开工的房屋市政工程均需参执行!

近日,广西住建厅、财政厅、银保监局3部门联合印发《广西壮族自治区房屋建筑和市政基础设施工程安全生产责任保险实施办法》(桂建发〔20231号),202361日起施行

重点如下:

第四条全区范围内所有新开工新建、扩建、改建、拆除房屋市政工程均需以工程项目为单元参保建筑工程安责险。鼓励已开工项目参保建筑工程安责险或将已参保的其他与安全生产相关的同险种转换为建筑工程安责险。

第五条  建筑工程安责险投保主体为工程项目总承包单位或专业承包单位保费列入工程造价,由投保主体支付不得以任何方式摊派给其他单位或个人

第六条  我区建筑工程安责险采用基准费率和浮动系数相结合的浮动机制

第十三条  承保机构应当按照不低于建筑工程安责险保费15%的比例据实列支事故预防费用,专项用于开展各类事故预防服务工作。

(十八)广西壮族自治区住房城乡建设厅、银保监局《关于印发<广西壮族自治区房屋建筑和市政基础设施工程安全生产责任保险实施细则>的通知》(桂建发〔20232号),自202361日起施行

一、关于建筑工程安责险投保

投保主体应当自主选择符合条件的承保机构或共保体投保建筑工程安责险。建筑工程安责险投保主体为单独核发施工许可的工程项目总承包单位或者与工程项目建设单位直接签订工程承包合同的专业承包单位。投保主体(总承包单位)应当在工程项目开工前投保建筑工程安责险,并按要求提供保单及银行转账证明等相关投保资料。

二、《实施细则》对承保机构的要求

承保建筑工程安责险的保险机构应当具有相应的专业资质和承保能力,需同时满足以下条件:

1、具备良好的信用记录,近3年内在经营活动中无重大违法或者不良信用记录(相关记录以“信用中国”查询结果为准);

2、具备为投保主体和工程项目提供高效便捷事故预防服务的团队和能力。有完善的建筑工程安责险事故预防风控服务制度体系,有事故预防风控服务团队,服务团队的人员数量和专业配置与承保业务量相匹配;

3、具备信息化服务能力,配置业务系统并与信息平台实现数据互通功能,可以上传并留存本单位在广西壮族自治区行政区域内开展承保、事故预防服务、理赔等业务的结果数据;

4、具备专业的建筑工程生产安全事故预防服务能力,以及独立设置的事故预防服务或者风险控制职能部门并配置相应的专职人员。

5、应向当地银保监局报备符合文件要求的条款和费率。

三、建筑工程安责险保费的计取

建筑工程安责险保费列入工程造价。建筑工程安责险费率采用固定基准费率和浮动系数相结合的浮动机制。固定基准费率根据工程项目的合同价、保障范围、风险级别、赔偿金额等项目划分档次;浮动系数综合考虑投保主体的上年度生产安全事故记录、诚信综合评价得分和工程项目的合同工期、智慧安全监管设备配备水平等因素。可依据《实施细则》中的附件进行选择。

四、关于建筑工程安责险理赔

投保主体应当按照保险条款约定提供相关理赔资料。承保机构在收到投保主体的赔偿请求后,应当及时做出是否属于保险责任的核定。

承保机构对事故真实、责任明确的小额案件,应当简化理赔流程,按照法律规定和保险合同的约定尽快支付赔款;对赔偿保险金额不能完全确定的,应当根据已有证明和资料对可以确定保险责任的部分先行赔付;对属于保险责任的重大赔付案件,应当对确认损失部分支付50%预付赔款。

五、承保机构应能提供的事故预防服务

承保机构应当建立生产安全事故预防服务制度,根据需求科学合理制定年度事故预防服务工作计划和费用预算,事故预防费实行“专款专用”,可以统筹行业和地区,协助投保主体和工程项目开展以下工作:

1、安全生产宣传教育培训;

2、安全风险辨识与分级管控、安全风险评估和安全评价;

3、生产安全事故隐患排查治理;

4、安全生产标准化建设;

5、生产安全事故应急预案编制和演练;

6、安全生产科技推广应用;

7、其他有关事故预防工作。

六、我区建筑工程安责险的管理

自治区住房城乡建设厅、广西银保监局等部门按照职责分工,对信息平台相关业务进行监管。

承保机构应当按照以下要求向信息平台上传信息:

1、如实、及时、完整地将承保信息、事故预防服务、理赔等信息上传至信息平台;

2、对工程项目进行现场检查发现的安全隐患,相关照片、视频等影像资料和说明材料,应当同步上传至信息平台;

3、在开展事故预防服务后,应当及时将服务结果上传至信息平台;

4、每年向信息平台上传当年事故预防服务总结报告,报告内容涵盖服务对象、服务内容、执行人员、费用情况等信息。

(十九)贵州省住房和城乡建设厅《关于印发轻钢龙骨—磷石膏砂浆喷筑复合墙体计价定额项目(试行)的通知》(黔建建字〔202316号),2023511日发布并实施

一、依据《磷石膏砂浆喷筑复合墙标准图集第一部分:轻钢龙骨——磷石膏砂浆喷筑复合墙体》(黔 2022/T122)编制的轻钢龙骨一磷石膏砂浆喷筑复合墙体计价定额项目(试行)。

二、轻钢龙骨一磷石膏砂浆喷筑复合墙体计价定额项目(试行)为《贵州省建筑与装饰工程计价定额》(2016版)的补充配套定额项目。

(二十)黑龙江省住房和城乡建设厅、省发展和改革委员会《关于印发<黑龙江省房屋建筑和市政基础设施工程评标委员会成员评标行为信用评价办法(试行)>的通知》(黑建规〔20231号),自202371日起施行

本《办法》适用范围:在本省行政区域内对房屋和市政工程评标委员会成员的评标行为开展信用评价,适用本办法。

本《办法》共包括5方面内容,设置21条款。

一是明确评价对象。评价对象是评标委员会成员,包括从评标专家库抽取的评标专家和招标人派出的评标代表。

二是明确评价内容。主要包括评标不良行为、评标良好行为。评标不良行为是指评标委员会成员在评标活动中,违反有关法律法规和规定、违反评标纪律、评标能力不足、违反职业道德以及其他不客观、不公正履行职务的行为。评标良好行为是指评标委员会成员在评标活动或者有关招标投标工作中履职尽责且做出突出贡献的行为。

三是明确评价方法。一是建立个人信用档案,包括个人基础信息、不良行为评价记录、良好行为评价记录等内容。二是评标委员会成员不良行为和良好行为的认定,是由项目属地行政主管部门负责,并记录到评标委员会成员的信用档案中。信用档案应作为评标委员会成员参加评标活动和省专家库管理部门对评标专家进行动态管理的重要依据。

四是明确评价结果应用。评标委员会成员的信用评价结果,按照以下标准进行应用:

1、动态信用评价得分≥100分,在库的评标专家,可优先推荐为优秀专家或资深专家,鼓励作为评标委员会组长;

2、85分≤动态信用评价得分<100分,可正常参与评标活动;一年内无再次扣分,信用评价得分恢复至 100 分;

3、75分≤动态信用评价得分<85分,自得分进入该区间范围内起,暂停参与评标活动六个月,暂停期满后,信用评价得分恢复至 85 分;

4、60分≤动态信用评价得分<75分,自得分进入该区间范围内起,暂停参与评标活动一年,暂停期满后,信用评价得分恢复至 85 分;

5、动态信用评价得分<60分,取消担任评标委员会成员资格;在库的评标专家,清出评标专家库;

6、暂停期满恢复评标资格的评标专家,一年内个人信用评价得分再次低于75分的,取消担任评标委员会成员资格;在库的评标专家,清出评标专家库。

五是明确评价标准。制定了《黑龙江省房屋和市政工程评标委员会成员评标行为认定标准(2023版)》,细化33项不良行为标准和7项良好行为标准,便于各地监督管理部门执行、应用和操作,同时对参与评标的评标专家和招标人代表起到有效警示作用。

(二十一)黑龙江省建设工程造价管理协会《关于转发发《黑龙江省工程勘察设计收费导则(2023版)》的通知》(黑价协字〔20232号),自202351日起施行

为贯彻落实黑龙江省加强城乡建设高质量发展的战略部署提高勘察设计水平和科技创新能力,维护勘察设计市场参与各方合法权益,促进公平竞争,引导规范市场收费行为,黑龙江省勘察设计协会组织相关单位共同编制完成《黑龙江省工程勘察设计收费导则(2023版)》(以下简称《导则》)。

作为黑龙江省相应工程勘察设计领域收费计算依据,也可作为工程项目可行性研究估算工程勘察设计收费和工程项目勘察设计招标测算工程勘察设计招标控制价的依据,同时供相关行政审批部门和监管部门参考使用。《导则》202351日起施行,由黑龙江省勘察设计协会负责解释,并保留进一步修订的权力。

《导则》包括工程勘察收费项目及标准、工程设计收费项目及标准、全过程工程咨询服务收费项目及标准3个部分。《导则》规定,工程勘察、设计收费向下浮动幅度值不应大于20%,向上浮动幅度值由双方根据建设项目实际情况共同协商确定。

本《导则》可做为基本建设投资费用中涉及工程勘察、工程设计、设计阶段建筑信息模型(BIM)技术服务、全过程项目管理等收费的依据,在从事工程造价业务中参照执行。

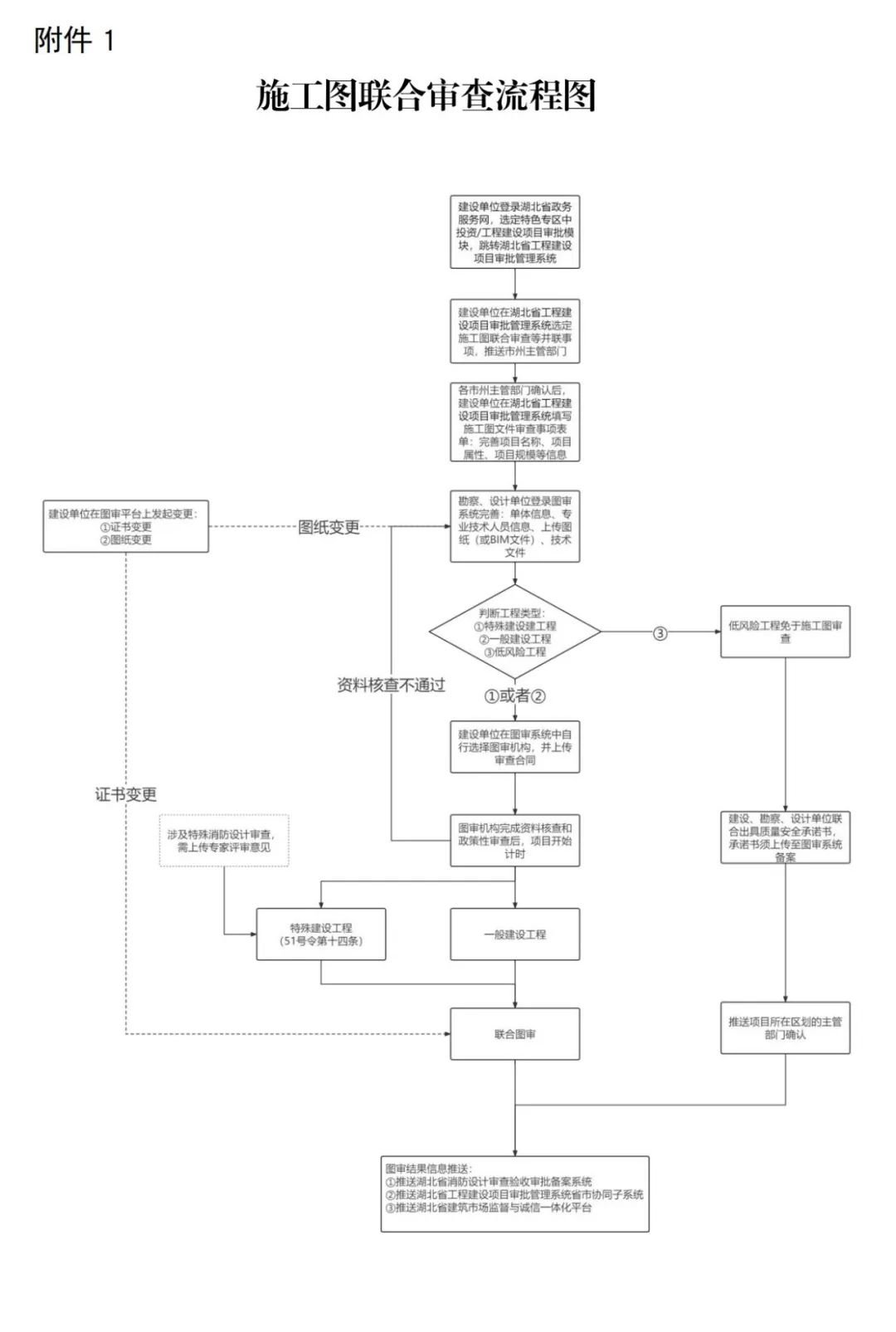
(二十二)湖北省住房和城乡建设厅《关于进一步优化全省房屋市政工程施工图联合审查工作的通知》(厅头〔2023937号),2023523日印发

住建厅:即日起,取消图审机构遴选,建设单位自主选择!推行二审终审制

湖北省住建厅发布《关于进一步优化全省房屋市政工程施工图联合审查工作的通知》。

1、取消图审机构遴选。

自本通知印发之日起,停用“审查机构遴选”功能模块由建设单位自主选择图审机构进行施工图联合审查(操作流程详见附件1)。


2、推行二审终审制。

对二次复审不合格的项目,图审机构不再复审,且须发放施工图审查不合格书

3、加大抽查频次。

强化对免审项目的事中事后监管,各地应在项目竣工前,对免审项目的勘察设计文件进行抽查检查,抽查比例不得低于60%

(二十三)苏州市住房和城乡建设局《关于进一步规范房屋市政工程中电焊机和气瓶管理的通知》(苏建函质〔2023105号),202359日印发

住建局:施工单位必须严格验收/登记!最严予以立案从重处罚!

5月9日,苏州市住建局发布《关于进一步规范房屋市政工程中电焊机和气瓶管理的通知》,为了有效预防建筑施工现场火灾事故发生,严格要求电焊机和气瓶管理

电焊机和气瓶管理范畴

1.电焊机:在房屋建筑和市政基础设施工程现场各类电焊机

2.气瓶:在房屋建筑和市政基础设施工程现场的各类气瓶

施工单位职责

进场验收:

每台电焊机在进场前施工单位必须严格进行验收,并报监理单位,验收合格后,在电焊机显著位置张挂验收合格牌。

◆各类气瓶在进场前施工单位要按照气瓶种类和批次进行验收,并报监理单位。

建立台账:

施工单位对电焊机和气瓶必须严格进行登记

登记要求:电焊机和气瓶分别单独登记,在备注栏中记录退场时间形成动态管理台账,其中电焊机必须每台登记并进行编号管理,编号张贴在电焊机显著位置。

出入库管理:

施工单位对每次新进场的电焊机和气瓶统一入库登记,合理存放,特别是气瓶必须严格按照气瓶存放的要求,确保安全存放。

对不用的电焊机和气瓶及时入库,不得随意放置在施工现场。存放仓库应由专人负责,责任到人。

电焊机和气瓶出库必须由取得动火作业证的电焊工方可领用,并做好签字登记手续。

动火作业:

动火作业必须严格按照动火级别,开具对应的动火作业证后方可进行动火作业。

日常管理:

施工单位必须指定专人对电焊机和气瓶的管理进行定期检查。

监理单位职责

监理单位必须严格验收,对未验收的电焊机和气瓶不得用于施工作业,待手续齐全后,方可投入使用。

加强检查

对管理不规范的项目,要及时督促责任单位按要求整改闭合;

对查实2次以上的项目,总包单位扣当季度信用分0.1分,监理单位扣当季度信用分0.2

对涉嫌违法违规的要立案从重处罚